企业通讯录管理后台
使用手册

2018-5-17

 

目录

1. 产品概述

1.1. 概述

1.2. 术语定义

2. 登录

3. 设备管理

3.1. 设备管理列表

3.2. 导入

3.3. 移除

3.4. 添加

3.5. 设置中控权限

4. 中控用户管理

4.1. 中控用户列表

4.2. 设置企业通讯录

5. 通讯录管理

5.1. 组成

5.2. 操作

6. 云端录制文件

 

1.产品概述

1.1.概述

企业通讯录管理后台协同中控产品,为企业用户提供用户管理、通讯录管理等服务。

1.2.术语定义

主机设备——指安装了云视讯产品或内置了云视讯应用,可以被中控设备控制的极会议设备,如TP、T1、M3、M1Plus;

中控终端——指使用中控软件,可以与主机设备绑定,从而实现远程遥控主机的目的;

中控权限——管理员登录后台,设置某主机设备的视讯号,可以使用中控功能,即该视讯号拥有中控权限;只有具备中控权限的主机设备,才能被中控终端绑定;

2.登录

在浏览器中输入企业通讯录管理后台地址回车,进入登录界面;

正确输入管理员账号和密码,即可登录成功;

3.设备管理

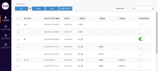
3.1.设备管理列表

列表显示出该企业内,所有的设备 / 账户数据;

支持查看:参会名称、序列号 / 手机号 / 邮箱、视讯号、归属组;

支持操作:批量导入、移除、单个添加、单个开启中控、批量开启中控;

支持检索;

3.2.导入

步骤如下:

1)下载“设备信息模板” —— 点击“导入”按钮右侧的 图标,将模板下载到本地;

2)编辑模板 ——空白模块中含有 4 个字段:视讯号、一级组名、二级组名、三级组名 ,将需要导入的设备视讯号填入第一字段,组名自定义,注意:一级组名不能为空;

3)导入——点击“导入”按钮,选择刚刚编辑的模板文件,开始导入,导入完成后,弹框提示导入结果(即成功和失败的条数);

4)如果有导入失败的数据,在结果弹框中点击链接,即可查看哪些数据导入失败,以及失败原因;

备注:导入数据的操作会由项目实施人员协助完成,一般不需要企业管理员进行,企业管理员负责后续的维护工作;

3.3.移除

在设备列表中勾选需要删除的数据,然后点击“移除”按钮,即可将该设备数据删除;

3.4.添加

点击“添加”按钮,在弹框中输入设备视讯号,然后点击“下一步”,如果该视讯号有效,那么再选择归属组,最后点击“添加”即可;

如果该视讯号无效,则需检查是否输入正确;

3.5.设置中控权限

1)约束

主机设备默认无中控权限;

管理员可手工设置主机设备开启或关闭中控权限;

只有开启了中控权限的主机设备,才可与中控终端绑定;

只有TP系列和盒子系列的主机设备有中控权限,手机/邮箱账号无中控权限,不能被设置;

2)设置

查找或通过检索找到需要设置的设备,将设备条目右侧的中控开关打开即可;

查找或通过检索找到需要设置的设备,选中条目左侧的勾选框或表头的全选框,然后 点击表 上方的“批量开启中控”按钮,即可批量设置;

4.中控用户管理

4.1.中控用户列表

在设备管理列表中,开启了中控权限的用户,显示在中控用户列表中:

支持查看:参会名称、序列号、视讯号、归属组;

支持设置企业通讯录;

支持检索;

4.2.设置企业通讯录

1)约束

被设置为中控用户后,其企业通讯录默认包含本级组内联系人和本级以下所有子组内的联系人;

管理员可手工设置中控用户的企业通讯录;

不支持设置中控用户的企业通讯录为空;

2)设置

查找或通过检索找到需要设置的中控用户,点击条目右侧的“设置企业通讯录”按钮,在弹出框中,勾选-确定即可;

5.通讯录管理

5.1.组成

左侧的树形结构——根据设备管理列表中导入数据的组别(一级/二级/三级组名),自动形成树形的企业通讯录结构;

右侧显示组信息和组内联系人;

5.2.操作

1)创建子分组

点击父级组右侧的“ ••• ”按钮,选择创建子分组,然后输入子分组名,确定即可在父级组下创建一个新的子分组;

2)升级分组

点击子分组右侧的“ ••• ”按钮,选择升级分组,即可将子分组升级到与此前 的父级组 平级;

3)删除组

点击组右侧的“ ••• ”按钮,选择删除,如果组内无数据,则直接将该分组删除;如果组内有数据,则无法删除,清空数据后可删除;

4)修改组名

点击组名,在右侧的组信息中,可编辑修改组名,修改完成点击“保存”按钮即可;

5)查看组内联系人

点击组名,在右侧的联系人中,可查看组内联系人信息,包含:参会名称、序列号/手机/邮箱、视讯号;

如果该联系人是中控用户,那么还可以查看其企业通讯录的组成;

6.云端录制文件

企业内用户开会录制的云端录制文件,均保存在该列表中,管理员可以查看信息和回放,播放时,需安装视频播放器软件;